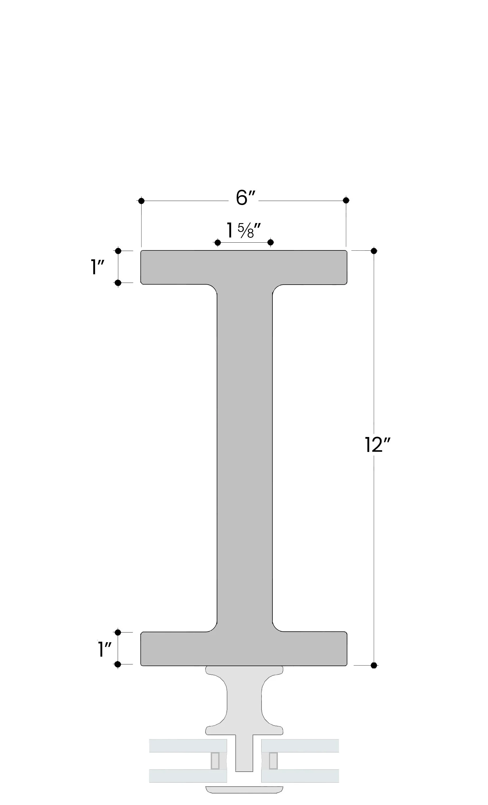
VS1-A I12 View fullsize Typical Span Application A New VS1 MullionThis new I-shaped mullion was developed for the VS1 scope on the new Austin Convention Center. IG regularly works with architects to develop new mullion profiles. Inquire today! New Shape Inquiry Contact